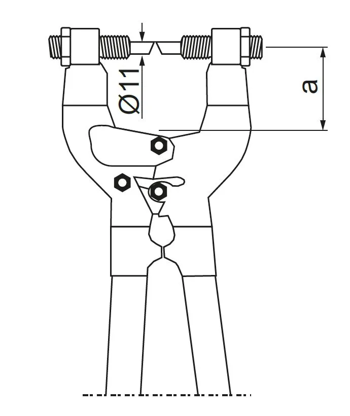
Болторіз DDB (700000) Виробник: BAKS Артикул: DDB Ціна за дзвінком Кількість: Замовити Індивідуальний список бажань ОК Додати до списку бажань Додати до списку порівняння Повідомити друга Перфорація трапецієподібного настилу. Особливо корисно для швидкого кріплення Трапецієподібні стельові кронштейни WT. Додаткова інформація Макс. рівномірна товщина 1,2 мм Характеристики товару Назва атрибуту Значення атрибуту Системи кабельних трас Типи елементів інструмент Товщина листа 0.0 мм Кількість [шт] 1 Розмір a [мм] 33 Відстань макс. [мм] 70 Діаметр заповнення тр [мм] 11
Перфорація трапецієподібного настилу. Особливо корисно для швидкого кріплення Трапецієподібні стельові кронштейни WT. Додаткова інформація Макс. рівномірна товщина 1,2 мм