Редуктор правий RKPBP400/300H100 (119240)

Виробник: BAKS
Артикул: RKPBP400/300H100
Ціна за дзвінком

Зменшення/збільшення ширини кабельних трас.

Матеріал

S - оцинкована за методом Сендзіміра сталь PN-EN 10346:2015-09

Доступні покриття:

F - гаряче оцинкована сталь PN-EN ISO 1461:2023-02

E - нержавіюча сталь

L - фарбування в стандартний колір RAL

Додаткова інформація

Для монтажу використовуйте комплекти гвинтів SGKM6x12 або SGM6x12.
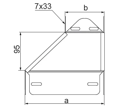
У разі спеціальних замовлень просимо вказати розміри a і b.

Примітка
Вбудовані муфти. Збірка без додаткових з'єднувачів.

Характеристики товару

Назва атрибуту Значення атрибуту
Системи кабельних трас
Типи елементів редуктор
Висота борта H100
Товщина листа 1.5 мм
Властивості матеріалу S - оцинкована сталь за методом Сендзіміра, F - гарячеоцинкована сталь, E - нержавіюча сталь, L - фарбування в стандартний колір RAL
Вага 1шт [кг] 0.74
Кількість [шт] 1
Розмір a [мм] 400
Розмір b [мм] 300